近日,有网友发帖称“大连科技学院全员停发工资,开学面临停摆”,引发关注。在帖文评论区,记者注意到有一封落款为“大连科技学院工会委员会”的《致全体教职员工一封信》。信中提到,在未收到任何法律文书和通知的情况下,学校各类相关账户被大连市中级人民法院冻结,致使7月工资未能如期发放。学校工会将为全体教职员工发放临时困难补贴和慰问补贴。

网友发帖称大连科技学院全员停发工资。

评论区流传出该校内部信。
8月23日,读特新闻记者以家长身份致电大连科技学院求证此事,学校院办工作人员证实网传的《致全体教职员工一封信》内容属实,但表示“现在学校已经马上解决这个问题了,政府不可能让学校停止运行,我们老师马上都上班了。”同日,记者致电该校主管部门辽宁省教育厅,电话无人接听。
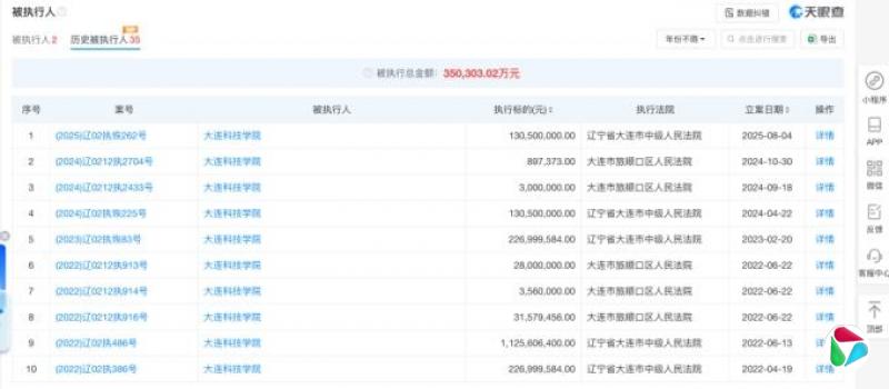
读特新闻记者《致全体教职员工一封信》的落款时间为8月5日。根据天眼查信息显示,大连科技学院共有2条被执行人信息,被执行总金额超2.3亿元;共有35条历史被执行人信息,被执行总金额超35亿元。其中,8月4日新增1则恢复执行信息,执行标的超1.3亿元,执行法院为辽宁省大连市中级人民法院。

大连科技学院历史被执行人信息共35条,总金额超35亿元。
公开资料显示,大连科技学院位于辽宁省大连市旅顺经济开发区,是一所理工类民办高校。学院于2002年7月建校,前身为大连交通大学信息工程学院,是大连铁道学院与大连阳光世纪教育产业投资有限公司(下称“大连阳光世纪教育”)共同举办的独立学院。2011年,学校改制为民办普通本科大连科技学院。
“我收到的录取通知里要求10天内交齐学费。”一位该校新生告诉读特新闻记者,自己8月初就已交齐所有学费。大连科技学院的收费公告显示,该校本科专业学费为每年26000元-28000元,专科学费为每年18000元。8月17日,大连科技学院官方微信公众号发布2025年招生情况,已面向全国22个省录取本科新生2900余人。学校目前在校生大约1.2万人。
一所高校,为什么能欠这么多钱?
记者梳理发现,大连科技学院背后的企业,大连阳光世纪教育同样官司缠身,而学校副董事长、常务副校长高小涵,是大连科技学院的法定代表人,同时也是大连阳光世纪教育法定代表人。目前,高小涵共有22条被限制高消费的案件记录,多集中在金融借款合同纠纷、债权转让纠纷、典当纠纷等。
一位大三在校生告诉记者,关于学校全员停薪的事,自己也是从网上看到,内部并未引起过多讨论,但是学校近期新装修了宿舍楼,并在招生季多次宣传寝室环境。
此前,该校还曾发布2025年招聘计划,招聘专任教师、专业带头人、辅导员等42人。
(作者:读特新闻记者 袁斯茹 严偲偲)